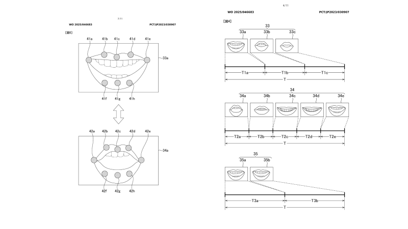
Новости Sony запатентувала систему автоматичного ліпсинку для локалізацій в іграх
-
Последние посетители 0 пользователей онлайн
- Ни одного зарегистрированного пользователя не просматривает данную страницу
-
Похожий контент
-
Новости Дивіться майже 12 хвилин геймплею з DLC Lord of Hatred для Diablo IV
От Новостник,
- 0 ответов
- 38 просмотров
-
Новости Кооперативний фуррі-хоррор Hazard Levels вийде у ранньому доступі 30 квітня
От Новостник,
- 0 ответов
- 37 просмотров
-
Новости Starfield вийшла на PlayStation 5 і отримала друге доповнення
От Новостник,
- 0 ответов
- 42 просмотра
-

Рекомендуемые сообщения
Присоединяйтесь к обсуждению
Вы можете написать сейчас и зарегистрироваться позже. Если у вас есть аккаунт, авторизуйтесь, чтобы опубликовать от имени своего аккаунта.
Примечание: Ваш пост будет проверен модератором, прежде чем станет видимым.