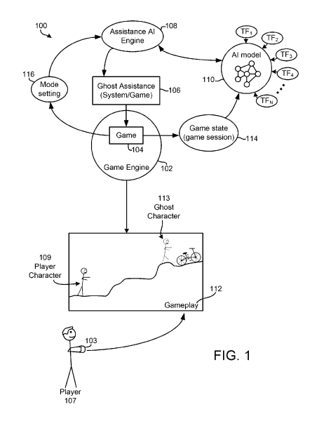
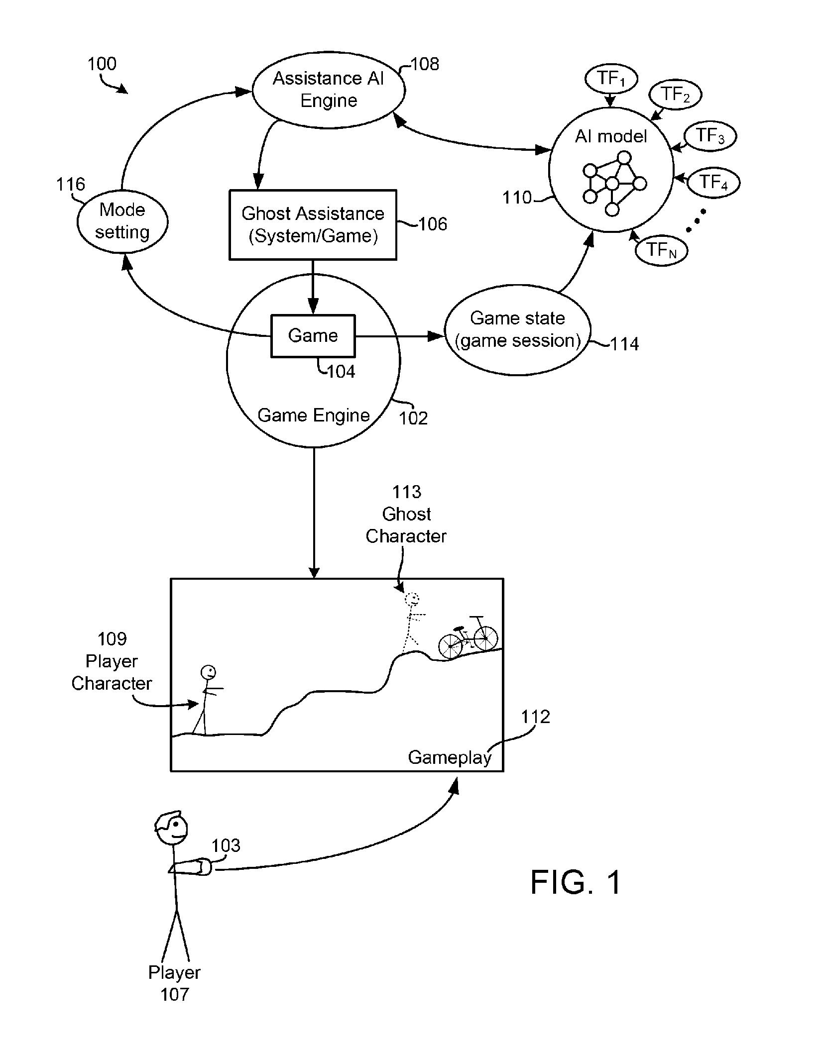
Новости Sony запатентувала ШІ-помічника, здатного проходити ігри замість людини
-
Последние посетители 0 пользователей онлайн
- Ни одного зарегистрированного пользователя не просматривает данную страницу
-
Похожий контент
-
Новости Ремейки Fallout, нова Quake і кінець трилогії Wolfenstein — купа інсайдів від Джеза Кордена
От Новостник,
- 0 ответов
- 109 просмотров
-
Новости Square Enix випустила демоверсію ремейка Dragon Quest VII
От Новостник,
- 0 ответов
- 103 просмотра
-
Новости Ubisoft закрила студію в Галіфаксі — вона відповідала за мобільну Assassin’s Creed Rebellion
От Новостник,
- 0 ответов
- 61 просмотр
-

Рекомендуемые сообщения
Присоединяйтесь к обсуждению
Вы можете написать сейчас и зарегистрироваться позже. Если у вас есть аккаунт, авторизуйтесь, чтобы опубликовать от имени своего аккаунта.
Примечание: Ваш пост будет проверен модератором, прежде чем станет видимым.