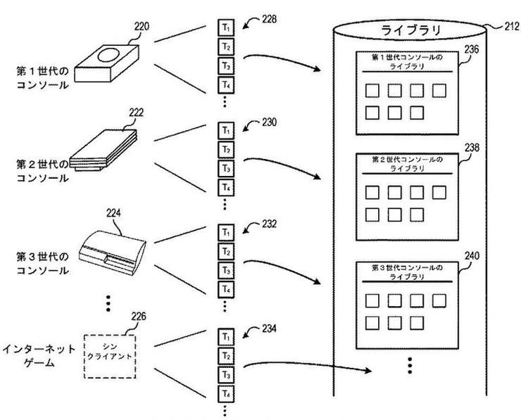
Новости PS5 получит игры с PS3, PS2 и PS1? Sony подала заявку на интересный патент
-
Последние посетители 0 пользователей онлайн
- Ни одного зарегистрированного пользователя не просматривает данную страницу
-
Похожий контент
-
Новости PS+ у травні — EA Sports FC 26, Nine Sols та Wuchang: Fallen Feathers
От Новостник,
- 0 ответов
- 12 просмотров
-
Новости Студія Sharkmob закрила сервери гри «Vampire: The Masquerade — Bloodhunt»
От Новостник,
- 0 ответов
- 8 просмотров
-
Новости Розробники Heroes of Might and Magic: Olden Era представили фракцію «Роща»
От Новостник,
- 0 ответов
- 8 просмотров
-

Рекомендуемые сообщения
Присоединяйтесь к обсуждению
Вы можете написать сейчас и зарегистрироваться позже. Если у вас есть аккаунт, авторизуйтесь, чтобы опубликовать от имени своего аккаунта.
Примечание: Ваш пост будет проверен модератором, прежде чем станет видимым.