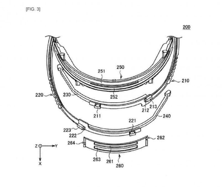
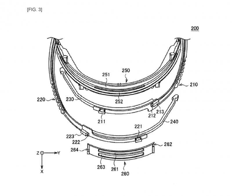
Новости Найден предполагаемый патент PlayStation VR 2 для PS5. Как будет ли выглядеть новое устройство
-
Последние посетители 0 пользователей онлайн
- Ни одного зарегистрированного пользователя не просматривает данную страницу
-
Похожий контент
-
Новости Авеллон: Bethesda продемонструвала розробникам New Vegas презентацію про промахи Obsidian
От Новостник,
- 0 ответов
- 31 просмотр
-
Новости Демоверсія Bubsy 4D з'явилася на консолях
От Новостник,
- 0 ответов
- 29 просмотров
-
Новости Компанія Nexon анонсувала ізометричну MMORPG «Embers of the Uncrowned»
От Новостник,
- 0 ответов
- 29 просмотров
-

Рекомендуемые сообщения
Присоединяйтесь к обсуждению
Вы можете написать сейчас и зарегистрироваться позже. Если у вас есть аккаунт, авторизуйтесь, чтобы опубликовать от имени своего аккаунта.
Примечание: Ваш пост будет проверен модератором, прежде чем станет видимым.