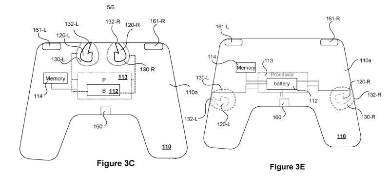
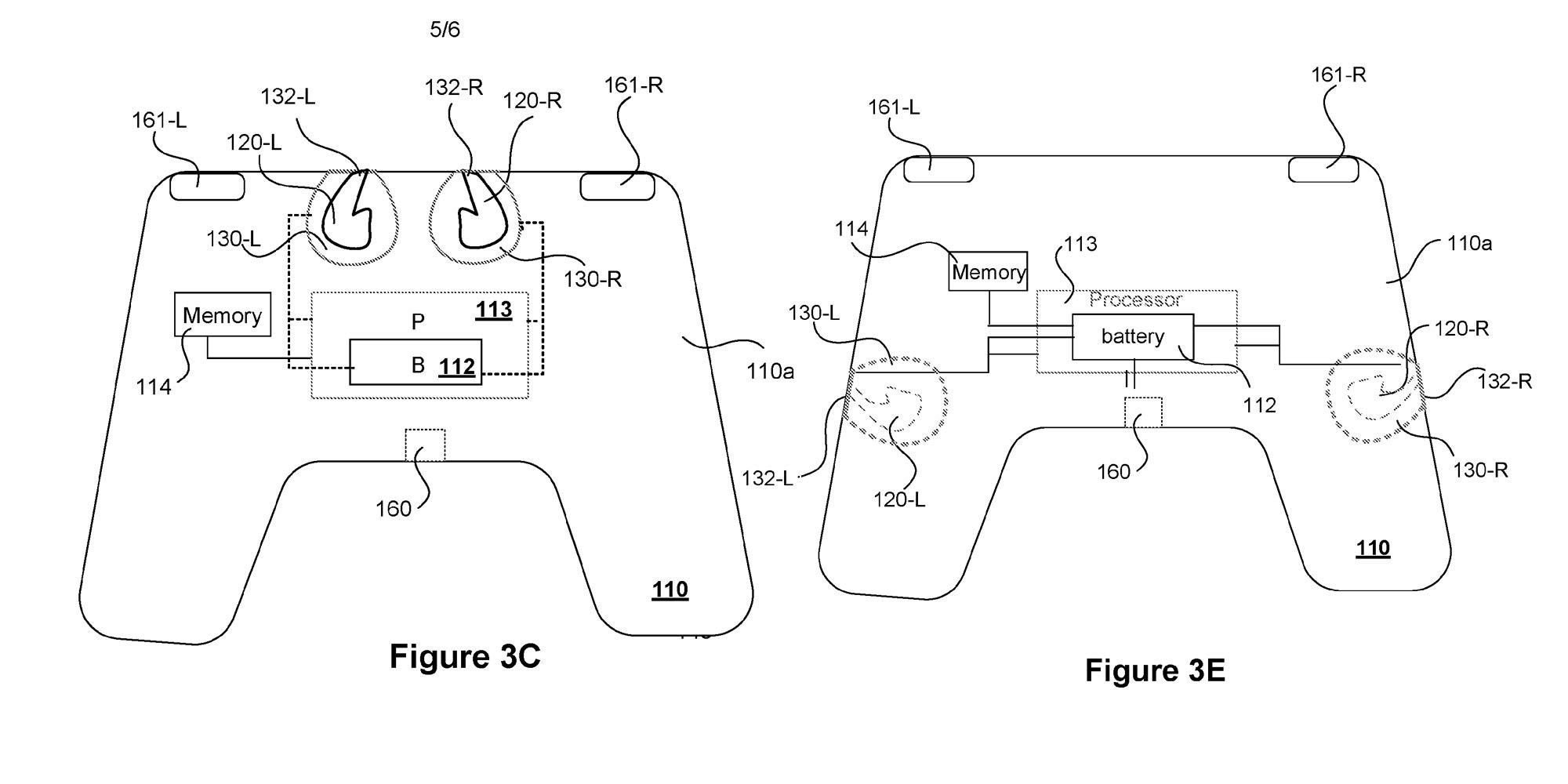
Новости PlayStation: патент контролера з відсіком для навушників та дата виходу PS5 Slim від інсайдера
-
Последние посетители 0 пользователей онлайн
- Ни одного зарегистрированного пользователя не просматривает данную страницу
-
Похожий контент
-
Новости Автори LEGO Batman: Legacy of the Dark Knight розповіли про Бет-печеру у свіжому щоденнику розробки
От Новостник,
- 0 ответов
- 25 просмотров
-
Новости Нелінійність і космічний жах — головне про Directive 8020 у новому трейлері
От Новостник,
- 1 ответ
- 40 просмотров
-
Новости Відбувся реліз Pragmata — гравці задоволені новинкою від Capcom
От Новостник,
- 0 ответов
- 45 просмотров
-

Рекомендуемые сообщения
Присоединяйтесь к обсуждению
Вы можете написать сейчас и зарегистрироваться позже. Если у вас есть аккаунт, авторизуйтесь, чтобы опубликовать от имени своего аккаунта.
Примечание: Ваш пост будет проверен модератором, прежде чем станет видимым.