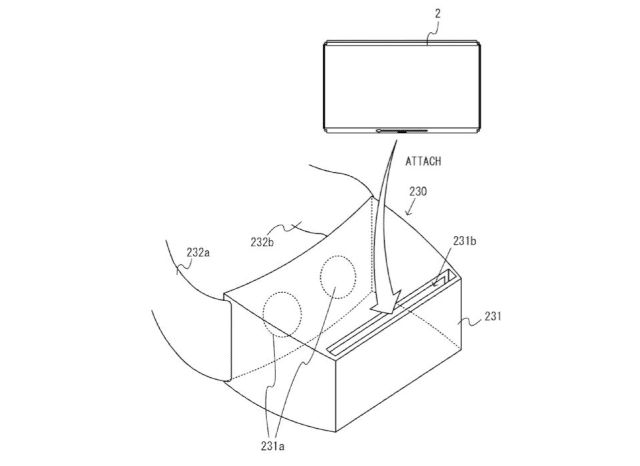
новости Слух: Nintendo Switch будет поддерживать шлем VR
-
Последние посетители 0 пользователей онлайн
- Ни одного зарегистрированного пользователя не просматривает данную страницу
-
Похожий контент
-
Новости Розробники Palworld обіцяють здивувати фанатів у релізній версії 1.0
От Новостник,
- 0 ответов
- 31 просмотр
-
Новости Оригінальна «Готика» з’явиться на iOS у 2026 році
От Новостник,
- 0 ответов
- 29 просмотров
-
Новости Ізометричний рольовий екшен Dragonkin: The Banished вийшов із раннього доступу
От Новостник,
- 0 ответов
- 33 просмотра
-

Рекомендуемые сообщения
Присоединяйтесь к обсуждению
Вы можете написать сейчас и зарегистрироваться позже. Если у вас есть аккаунт, авторизуйтесь, чтобы опубликовать от имени своего аккаунта.
Примечание: Ваш пост будет проверен модератором, прежде чем станет видимым.